2023年,第二十届上海国际汽车工业展览会上,宝马展示了BMW数字情感交互概念车(Dee),该数字概念车是即将于2025年面世的宝马“新世代”车型,其曾在美国拉斯维加斯的CES上首次亮相。宝马BMW数字概念车Dee的展示也代表了宝马汽车对未来车内和车外数字体验的发展方向,其功能和体验效果远超当下我们接触的语音控制和驾驶辅助系统。
第20届上海国际汽车工业展览会前夕“2023BMW创想未来之夜”
据介绍,该款宝马数字概念车聚焦情感体验,应用新的交互技术全方位提升驾乘人员的乘车愉悦度。通过BMW先进平视显示系统(Advanced Head-up Display)和混合现实交互界面(Mixed Reality Slider)共同组成了BMW Dee数字概念车的中央控制系统,用户可以在五个层级中自行选择相应的数字化体验与内容,让车辆成为进入元宇宙的入口。该系统的投影内容能够覆盖风挡玻璃的整个宽度,从而让信息可以在尽可能大的表面上被显示出来。另外,宝马在BMW Dee数字概念车的车身表面应用了电子墨水(E-Ink)技术,通过不同的电脉冲,可呈现出多达32种车身颜色,从而实现了完全可变、可单独配置的彩色外观。下面从专利角度对BMW Dee数字概念车中主要用到的显示交互系统、数字情感交互技术、电子墨水(E-Ink)技术进行深入分析。宝马在DEE数字概念车的显示交互系统方面,布局了专利CN112297842A(具有多种显示模式的自动驾驶车辆),该专利申请保护的车辆具有多个显示模式(如下图所示),其包括在仪表盘设置全息投影仪14,用于在自由空间中进行立体成像,以及用于前挡风玻璃13的平视显示器。全息投影仪不仅能使立体成像相对于平视显示器、仪表盘显示器和中控台显示器更接近于驾乘人员,从而便于驾乘人员观看和必要时操作,而且为所显示内容赋予立体效果。此外,还在各车窗玻璃设置调光装置,调光装置可以包括调光玻璃或调光膜,其通过施加电压实现光透射率的变化,调节车内环境的明暗变化,从而优化各个显示装置的显示效果。通过对调光装置的启停使用,车辆显示模式可呈现三种:在停用调光装置的情况下,提供实时车外实景的街景模式;在启用调光装置的情况下,显示交互数据的交互模式;在启用调光装置的情况下,显示虚拟场景的氛围模式。通过多个显示模块、调光装置、投影装置的应用,能够提供不同需求下的沉浸式视觉效果,极大地丰富车内乘员的驾乘体验。宝马针对显示交互系统还布局了专利CN112558752A(用于操作平视显示器的显示内容的方法、操作系统和车辆),该专利申请保护一种操作平视显示器的方法,在平视显示器上设置多种显示元素,各显示元素以多层阵列式进行排布,多个显示元素构成多层阵列中的一个层,多个层沿第一方向(如X方向)排列,多个显示元素沿正交于第一方向的第二方向(如Y方向)排列,其余显示元素沿正交于第一方向和第二方向的第三方向(如Z方向)排列,形成多个显示元素在三维空间内的一种新型排布方式,可以为车内乘员提供更为全局性的视角来了解通过显示元素所能提供的功能、信息、项目等。在对显示内容进行操作时,通过采集车内人员在表征空间内的移动性手势在各层之间切换和/或在一个层内的各显示元素之间进行切换,车内乘员能够以符合显示元素的排布关系进行方便而富有逻辑性的直观操作,优化了车内乘员与车辆的人机交互。而且,由于比车辆中传统菜单提供更高的维度,能够更为高效快捷地实现切换操作。

CN112558752A(平视显示器操作方法)典型附图
又如专利CN115686226A(用于车辆的用户界面和车辆),该专利申请保护一种用户界面(如下图所示),包括用于在显示器上显示信息的二维显示器7,二维显示器包括像素布置结构15和覆盖像素布置结构的覆盖层16;光学盖板9包括接触表面10、用于显示信息的三维显示器表面和设置在接触表面与三维显示器表面11之间的光导材料12,盖板的接触表面布置在二维显示器的凹槽20中,这样在二维显示器的接触部分通过发射可由接触表面接收的光而将要由三维显示器表面呈现的信息传递到盖板,通过将盖板集成到显示器中,用户界面具有物理的三维形式。再如专利CN115712372A(内容显示方法、装置、设备、介质和车辆),该专利申请保护一种车载电子设备的显示方法,从外部电子设备上获取待渲染内容,车载电子设备所获取的待渲染内容是特定于应用程序的内容数据,对该内容数据进行渲染(例如裁剪、策展)以使得渲染后的内容更加适配于车内显示系统。以这种方式,实现了车载电子设备对外部电子设备应用程序的内容数据的可视化,提高了车载电子设备渲染并显示的内容的丰富性,增强了驾驶员和乘客对车载电子系统的用户体验。通过上述分析可以看出,宝马在显示交互系统方面从显示器像素结构、内容显示方法、显示内容操作方法及显示模式方面均在中国进行了相关专利布局,且其专利说明书中对相关技术进行了更细致的介绍,相关汽车或显示器研发工程师可以重点关注宝马相关专利技术,为后续的研发创新做借鉴,同时也为潜在的风险规避做准备。在数字情感交互方面,宝马也布局了多项专利。在专利CN114973209A(识别驾驶员情绪的方法、装置、设备、介质和车辆)中,由音频拾取设备拾取的用户语音,由摄像头110捕获的用户面部图像或躯干图像,可以被车载系统120进行分析以识别用户102的状态。其中,情绪识别时,先获取待识别图像序列,待识别图像序列可以包括时间上相邻的至少两个待识别图像,并且每个待识别图像包括驾驶员面部,然后将该待识别图像序列输入情绪识别模型,以得到与待识别图像序列对应的情绪状态序列。以这种方式,可以基于至少一个在先情绪状态来预测在后情绪状态,从而在包括驾驶员面部的待识别图像的基础上考虑了相邻时刻之间情绪状态保持不变或转变为其他多个情绪状态的可能性,进而提升了情绪识别方法的准确率。CN114973209A(驾驶员情绪识别)典型附图此外,宝马还布局了专利EP3886027A1(使用车辆交互感知的辅助系统),通过采集和分析乘客的手势或声音有关的数据,确定乘客的交互是针对车辆还是其他实体,并基于分析执行与乘客的交互计划。在专利DE102020101339B4(车辆中的交互式气味控制)中,通过投影仪将虚拟气味粒子投影到乘员前方的表面上,同时在检测到乘员的指定动作时,释放真香颗粒,通过交互的方式,增强个性化香味体验。在专利DE102019132626A1(用于确定关于车辆的设备特征的分配的方法、设备、计算机程序和计算机可读存储介质)中,通过记录乘员与车辆设备特征的交互,确定乘员情绪状态,根据情绪状态和交互,确定乘员偏好分数,并将乘员的偏好分数与交互相关联,以不断提升乘员驾乘体验。在专利WO2023011911A1(声音体验发生器)中,公开了便携式计算设备接收车辆参数数据;便携式计算设备从车辆参数数据生成声音参数数据;基于声音参数数据生成音频数据;将音频数据从便携式计算设备传输到车辆。从车辆数据转换而来的声音参数数据和关联轨迹可输入到声音合成器,声音合成器可以使用数字声音模块生成音频数据并进行播放。在专利DE102019130004A1(用于在车辆内部显示情绪的情绪助手)中,公开了一种用于在车辆内部显示情绪的情绪助手,具有至少一个情绪检测装置,用于检测至少一名乘员的情绪。情绪显示装置,设置在显示器边缘,可以通过不同颜色、符号、数字等来直观地显示乘员的情绪状态,从而为改善乘员情绪提供帮助。
通过上述专利分析可以看出,数字情感交互是宝马在BMW Dee数字概念车专利布局的重点,主要是将驾乘人员的情绪与驾车体验融合,利用声、光、气味、视觉等不同的感官触觉改善驾乘人员的情绪,达到提升驾乘人员乘车愉悦度的目的。目前,相关专利主要申请地域聚焦在欧洲,但是中国作为较大的车辆消费市场,相信宝马后续也会将中国作为重点专利布局区域。
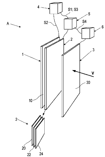
在电子墨水技术的应用方面,宝马布局了一些专利。在专利DE102020121343B4(具有电子纸显示器的显示装置和具有至少一个显示装置的车辆)中,电子纸显示器1前设置有隐私保护元件2。观看方向(V)可以由显示控制装置4控制,并且可以在电场的影响下在第一透明状态和第二不透明或变暗状态之间切换,隐私保护元件2由薄膜或面板构成,其具有至少一层不透明的聚合物液晶层22或至少一层可着色或变暗的电致变色层。
DE102020121343B4(电子纸显示器)典型附图在专利DE102020113398B4(具有至少一层功能表面层的机动车辆)中,在车辆的外表或者内部可以暴露在太阳辐射的部位设置亮度可以改变的功能表面层(如电子纸层),通过设置至少一个传感器用于检测太阳辐射或温度,然后生成表示这些环境变量(S,T)的信号,信号传输装置将相应的信号(S,T)传输到控制装置,当控制装置接收到的太阳辐射或温度信号超过预定阈值时,控制装置将功能表面层从较深的颜色切换到较浅的颜色,或者从较浅的颜色切换为较深的颜色,从而调节其对太阳辐射的吸附和反射特性。与其他显示技术相比,电子纸层(也叫电子墨水层)只在改变状态时需要耗电,达到状态时不需要耗电就能维持状态,因此大大降低能耗;其次,这种采用电子墨水技术的功能层是将电子纸元素以马赛克式或拼花式的方式相互邻接形成电子纸模块,因此功能表面层可以依据喜好设计为多种不同的复杂形状,以满足个性化需求。总体来看,宝马在BMW Dee数字概念车方面的专利布局虽然还不完善,有些技术可能还处在初级研发阶段,但是在显示交互系统、数字情感交互及电子墨水技术方面,已经有较明晰的研发方向,并且具备了一定的专利积累。BMW Dee数字概念车代表了车辆的数字化发展方向,一旦上市,将会全面提升驾乘体验,使出行生活迈入一个新的阶段。但是,在愉悦的驾乘享受中,会不会影响驾车专注性从而引发安全问题?过度的面部、声音情绪采集,会不会涉及驾乘人员的隐私泄漏?或者对驾乘人员的实时情感监控和交互,会不会给驾乘人员带来较大的压力?这些潜在的问题值得深思,当然该技术最终能否得到普及也需要等待时间的验证。
作者:北京品源专利代理有限公司 许晓娜